https://www.mini.com.gr/el_GR/home/range/mini-countryman.html?utm_source=carandmotormarch&utm_medium=headbanner&utm_campaign=tactical

Η Toyota αλλάζει θέση στις μπαταρίες των ηλεκτρικών της μοντέλων

Toyota bZ4X fl 10

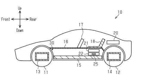
Η Toyota εξετάζει νέες ιδέες για την τοποθέτηση των μπαταριών και των ηλεκτροκινητήρων, ώστε να βελτιωθεί η χωροταξία, η ασφάλεια και η αποδοτικότητα των μελλοντικών ηλεκτρικών οχημάτων.

Τουλάχιστον έτσι αποκαλύφθηκε πρόσφατα από 2 διπλώματα ευρεσιτεχνίας που κατατέθηκαν το 2025 και δημοσιεύθηκαν τώρα. Ο διαφορετικός τρόπος σκέψης, περιγράφει μια εναλλακτική αρχιτεκτονική, η οποία θα απελευθερώσει χώρο. Η πατέντα της ιαπωνικής εταιρείας αφορά ένα ηλεκτρικό μοντέλο με δύο σειρές καθισμάτων, όπου τα βασικά μέρη του συστήματος μετάδοσης κίνησης, δεν συγκεντρώνονται γύρω από την μπαταρία.

toyota batteries b
ΤΟ ΑΡΘΡΟ ΣΥΝΕΧΙΖΕΙ ΜΕΤΑ ΤΗΝ ΔΙΑΦΗΜΙΣΗ

Αντιθέτως, ο ηλεκτροκινητήρας και η μονάδα διαχείρισης ομαδοποιούνται και μπαίνουν εμπρός ή πίσω από την μπαταρία. Ακόμα και ανάμεσα στα μπροστινά καθίσματα. Μια τέτοια λύση, θα ευνοούσε σημαντικά τον εσωτερικό χώρο για τους επιβάτες, αλλά και το χώρο αποσκευών. Τα αυτοκίνητα θα μπορούσαν να είναι χαμηλότερα και πιο συμπαγή, χωρίς να… «θυσιάζεται» η άνεση και η ευελιξία.

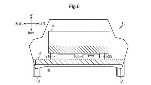
Μια από τις ευρεσιτεχνίες της Toyota αναφέρει εξαρτήματα εγκατεστημένα κάτω από τη δεύτερη σειρά καθισμάτων, μεταξύ της μπαταρίας και μιας από τις μονάδες. Η διαμόρφωση είναι καθοριστικός παράγοντας για την κατανομή του βάρους και συνεπώς της οδικής συμπεριφοράς. Η ίση κατανομή επηρεάζει θετικά την ισορροπία, ενώ η χρήση λιγότερων καλωδίων συνεπάγεται λιγότερο όγκο και μειωμένο βάρος

.

toyota batteries c
ΤΟ ΑΡΘΡΟ ΣΥΝΕΧΙΖΕΙ ΜΕΤΑ ΤΗΝ ΔΙΑΦΗΜΙΣΗ

Η συγκεκριμένη αυτοκινητοβιομηχανία έχει μεγάλη εμπειρία στην ηλεκτροκίνηση και στη λειτουργία διπλού κινητήρα από τα υβριδικά της. Προφανώς γνωρίζει καλύτερα από τον καθένα πως να βρει μεθόδους βελτιστοποίησης της απόδοσης.

ΔΕΙΤΕ ΕΠΙΣΗΣ