
Αν οι πρωινές και οι βραδινές βόλτες με τον σκύλο σας δεν αποτελεί την αγαπημένη σας συνήθεια, η Toyota υπόσχεται να δημιουργήσει ένα αυτόνομο όχημα το οποίο θα σας απαλλάξει από την… ιερή υποχρέωση.
Στην υπηρεσία των τετράποδων φίλων μας πρόκειται να τεθεί η τεχνολογία της αυτόνομης κίνησης. Κι αυτό γιατί η Toyota διατύπωσε την πρόθεσή της να δημιουργήσει ένα όχημα το οποίο θα αναλαμβάνει να βγάζει βόλτα τον σκύλο σας.
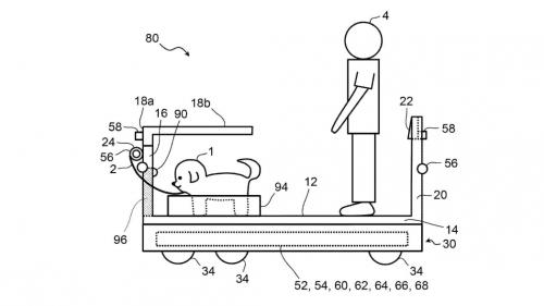
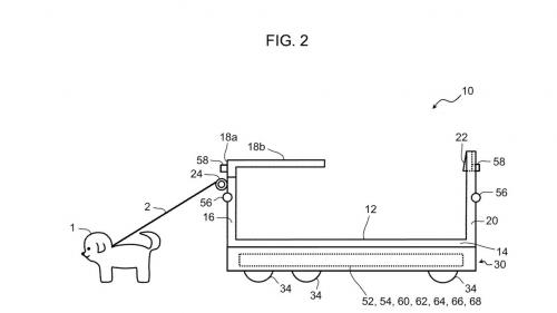
Η νέα πατέντα της Toyota θυμίζει καρότσι μεταφοράς εμπορευμάτων, το οποίο ωστόσο θα έχει τη δυνατότητα όχι μόνον να καθοδηγήσει τον σκύλο σας αλλά και να μαζέψει τις ακαθαρσίες που θα προκύψουν κατά τη διάρκεια της διαδρομής.
BUY NOW

Η πλατφόρμα είναι αρκετά μεγάλη και ο ηλεκτροκινητήρας αρκετά ισχυρός, ώστε το αυτόνομο όχημα της Toyota να μπορεί να φιλοξενήσει και τον ιδιοκτήτη του σκύλου αν και εφόσον εκείνος αποφασίσει να επιβλέψει τη διαδικασία, μολονότι η παρουσία του δεν θα είναι υποχρεωτική.
Σε αυτήν την περίπτωση μάλιστα ο ιδιοκτήτης του σκύλου θα μπορεί να κατευθύνει εκείνος το αυτόνομο όχημα της Toyota, ορίζοντας και την τύχη του κατοικίδιου.

Αν πάλι ο σκύλος αποδειχθεί ανυπάκουος, τότε το αυτόνομο όχημα της Toyota έχει τη δυνατότητα να το επαναφέρει στην τάξη, ακολουθώντας πολύ συγκεκριμένες πρακτικές, οι οποίες διαμορφώνουν το «discipline mode».
Αυτό που δεν έχει γίνει γνωστό είναι πότε η νέα πατέντα της Toyota θα φτάσει στη γραμμή παραγωγής, απαλλάσσοντας από τους κατόχους σκύλων από την ιερή υποχρέωση της πρωινής και βραδινής βόλτας.
ΠΕΡΙΣΣΟΤΕΡΑ