Fiat Grande Panda

H Ducati ετοιμάζει ένα κιβώτιο - Θα μαθαίνει το στυλ οδήγησης του αναβάτη

Ducati_Multistrada_V4_RS

Η Ducati ετοιμάζει τη δική της εκδοχή αυτοματοποιημένου συστήματος συμπλέκτη, με δυνατότητα εκμάθησης και προσαρμογής στο στυλ οδήγησης.

Η Ducati σχεδιάζει να λανσάρει ένα «έξυπνο» συμπλέκτη, ακολουθώντας την τάση που έχουν ήδη ξεκινήσει η Honda με την E-Clutch και η Yamaha με το Y-AMT. Σύμφωνα με το νέο της δίπλωμα ευρεσιτεχνίας, το σύστημα της ιταλικής φίρμας δεν περιορίζεται μόνο στην αυτόματη λειτουργία, αλλά εισάγει και την έννοια της εκμάθησης.

Το αυτοματοποιημένο σύστημα συμπλέκτη της Ducati μπορεί να προσαρμόζεται στο οδηγικό στυλ, να προβλέπει αντιδράσεις και να λειτουργεί είτε αυτόνομα είτε σε συνεργασία με τον αναβάτη, ανάλογα με τις συνθήκες.

ducati
ΤΟ ΑΡΘΡΟ ΣΥΝΕΧΙΖΕΙ ΜΕΤΑ ΤΗΝ ΔΙΑΦΗΜΙΣΗ

Σε αντίθεση με ένα πλήρως αυτόματο κιβώτιο ταχυτήτων, όπου δεν υπάρχει επιλογή ή παρέμβαση από τον αναβάτη, εδώ έχουμε ένα αυτοματοποιημένο σύστημα συμπλέκτη που συνεργάζεται ενεργά με τον χρήστη. Το κιβώτιο παραμένει χειροκίνητο, αλλά ο συμπλέκτης λειτουργεί είτε με την παρέμβαση του οδηγού είτε με τη βοήθεια ηλεκτρονικών και υδραυλικών ενεργοποιητών.

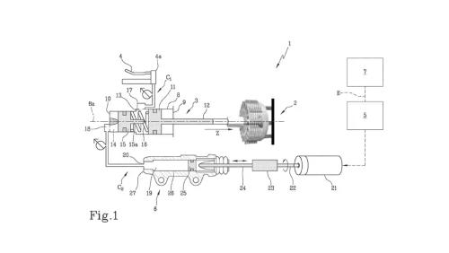
Η λειτουργία του βασίζεται στην προσθήκη ενός ηλεκτρονικά ελεγχόμενου υδραυλικού ενεργοποιητή στον υπάρχοντα υδραυλικό μηχανισμό της Ducati, ο οποίος λειτουργεί παράλληλα με τον κλασικό μηχανικό μοχλό του συμπλέκτη. Έτσι δημιουργούνται δύο ξεχωριστοί υδραυλικοί κύκλοι. Ο πρώτος αφορά την παραδοσιακή διάταξη, όπου ο μοχλός στο τιμόνι ενεργοποιεί τον συμπλέκτη μέσω πίεσης υγρού.

Ο δεύτερος είναι ένα ηλεκτρονικά ελεγχόμενο κύκλωμα που χρησιμοποιεί μονάδα ελέγχου και ηλεκτρικό μοτέρ για να παρέχει πίεση αυτόνομα. Το ενδιαφέρον είναι ότι οι δύο κύκλοι μπορούν να λειτουργούν είτε ταυτόχρονα είτε εναλλάξ, ανάλογα με το στυλ οδήγησης και το πρόγραμμα που έχει επιλεγεί.

Ο αναβάτης μπορεί να χειριστεί τον συμπλέκτη με τον κλασικό τρόπο, αλλά το σύστημα έχει τη δυνατότητα να αναλάβει σε συγκεκριμένες συνθήκες αυτόνομα τον έλεγχο, όπως κατά την εκκίνηση ή στη διάρκεια απότομων φρεναρισμάτων και αλλαγών ταχυτήτων.

ducati
ΤΟ ΑΡΘΡΟ ΣΥΝΕΧΙΖΕΙ ΜΕΤΑ ΤΗΝ ΔΙΑΦΗΜΙΣΗ

Η αρχιτεκτονική του ελέγχου είναι ιεραρχική και λειτουργεί σε δύο επίπεδα. Το πρώτο αναγνωρίζει καταστάσεις όπως εκκίνηση, στάση ή αλλαγή σχέσης και διαχειρίζεται τη συνολική λειτουργία του συστήματος. Το δεύτερο βασίζεται σε δεδομένα από αισθητήρες πίεσης, στροφών και θέσης εμβόλου, ώστε να εκτελεί με ακρίβεια τις επιμέρους ενέργειες σε πραγματικό χρόνο.

Σύμφωνα με τη Ducati, το σύστημα αυτό προσφέρει σημαντικά πλεονεκτήματα σε τρία βασικά σενάρια. Πρώτον, μέσω της λειτουργίας Launch Control, εξασφαλίζεται ομαλή και δυναμική εκκίνηση με υψηλή ροπή, χωρίς σπινιάρισμα ή απότομες αντιδράσεις. Δεύτερον, με τη λειτουργία Antistall, αποτρέπεται το σβήσιμο του κινητήρα σε χαμηλές ταχύτητες ή κατά την οπισθοπορεία. Τρίτον, με τη λειτουργία Gear Shift Control, βελτιώνεται η διαδικασία αλλαγής ταχυτήτων, μειώνοντας τους κραδασμούς και το λεγόμενο «κλότσημα» που παρατηρείται συχνά σε sport μοτοσυκλέτες με quickshifter.

ducati
ΤΟ ΑΡΘΡΟ ΣΥΝΕΧΙΖΕΙ ΜΕΤΑ ΤΗΝ ΔΙΑΦΗΜΙΣΗ

Η καινοτομία του νέου αυτού συστήματος βρίσκεται στον πολυεπίπεδο μηχανισμό ελέγχου που έχει αναπτυχθεί σύμφωνα με την αρχή του ένθετου δακτυλίου. Αποτελείται από δύο βρόχους. Ο εσωτερικός ελέγχει με ακρίβεια την κίνηση του εμβόλου και την ενεργοποίηση του συμπλέκτη. Ο εξωτερικός ρυθμίζει την υδραυλική πίεση και προσαρμόζεται σε μεταβλητές συνθήκες όπως η θερμοκρασία του υγρού ή η φυσική φθορά των υλικών.

Αυτό που ξεχωρίζει είναι ότι το σύστημα δεν ανοίγει απλώς και κλείνει τον συμπλέκτη, αλλά μπορεί να τον διατηρεί προενεργοποιημένο, μειώνοντας τον χρόνο απόκρισης, ειδικά σε σπορ οδήγηση. Παράλληλα, η μονάδα ελέγχου μαθαίνει από τον οδηγό, υπολογίζοντας πόση δύναμη ή διαδρομή χρειάζεται κάθε φορά και προσαρμόζοντας τη λειτουργία της αντίστοιχα. Το αποτέλεσμα είναι ένα σύστημα που προσφέρει σταθερότητα, συνέπεια και «έξυπνη» λειτουργία.

ducati

Αν και δεν έχει επιβεβαιωθεί επίσημα σε ποια μοντέλα παραγωγής θα κάνει πρεμιέρα το σύστημα, οι πιθανότητες συγκλίνουν σε δύο κατευθύνσεις. Από τη μία, η Panigale ή η Streetfighter θα μπορούσαν να επωφεληθούν από πλευράς επιδόσεων και σταθερότητας.

ΤΟ ΑΡΘΡΟ ΣΥΝΕΧΙΖΕΙ ΜΕΤΑ ΤΗΝ ΔΙΑΦΗΜΙΣΗ

Από την άλλη, μοντέλα όπως η Multistrada V4 ή η DesertX θα κέρδιζαν σε άνεση, ιδιαίτερα στην καθημερινή χρήση ή σε off-road διαδρομές. Το μόνο βέβαιο είναι ότι το αυτοματοποιημένο σύστημα συμπλέκτη της Ducati δεν στοχεύει στο να καταργήσει τον έλεγχο, αλλά στο να τον κάνει εξυπνότερο.

ΔΕΙΤΕ ΕΠΙΣΗΣ